网络正规PM娱乐城

网络正规PM娱乐城

关于杂质泵基本知识,你真的了解吗

  杂质泵用于输送含有固体颗粒的液体,要求泵的过流部件耐腐蚀,为防止固相结晶堵塞,叶轮的叶片数较少,通常在2~8片,泵体常采用较宽的流道。为防止固体颗粒进入轴封和防止外部空气流入,轴封处采用清液作为封液,并要求轴封结构可靠。泵的转速一般不高,通常为1000~ 1500r/min。相应的,泵的效率也较低。

1、叶轮和泵体设计

  一般杂质泵的叶轮用平行盖板,浆体进入叶轮后,在出口处由中心向两侧形成外漩涡,使叶轮的前后盖板和内衬严重磨损,这是造成过流部件寿命短的主要原因。沃曼泵设计的叶轮在出口处形成凹形(参见图1、图2) ,使叶轮两侧前后盖板处的速度大于中间速度,浆体在出口处分成两股流体,向中心旋转,迫使颗粒向中心流动造成内漩涡状,使两侧的浓度降低,从而减轻了泵体流道和两侧壁的磨损。

图1 一般泵的外涡流

图1 一般泵的外涡流

图2 沃曼泵的内涡流

图2 沃曼泵的内涡流

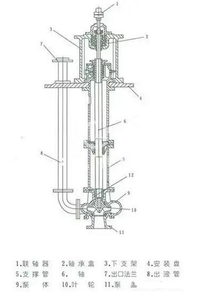
2、液下泵

  液下泵的特点是占地小,无轴封,不会产生泄漏。典型的液下泵见图3。该泵设有液下轴承,轴可以设计得较长。液下轴承通常采用泵送液体自身润滑。当介质含固体颗粒时,会产生磨蚀,使轴承的间隙加大引起振动,所以仅适用于输送清液的场合。当输送含固体颗粒液体时,会降低使用时间。合理的结构是在泵底板上,采用两个轴承支撑,取消液下轴承。由于叶轮磨损不均匀,转子不平衡度增加,通常在设计轴时,其强度和刚度都要取得较富裕些,将轴径设计得粗一些。悬臂式液下泵常采用刚性轴,为避开轴的临界转速,悬臂泵轴一般不宜过长,否则需加粗。此外液下泵的转速也选用低速型较好。

图3 液下泵
图3 液下泵

3、密封

  离心杂质泵主要有填料密封、副叶轮密封和机械密封等轴封型式。副叶轮密封的最大优点是运行可靠,但在设计中要求副叶轮的进口压力控制在一定范围内,沃曼泵规定应小于 10%的泵出口压力。这种轴封型式不加轴封水,但使用副叶轮将增加功率消耗,一般为额定功率的5%左右。副叶轮必须与停车密封配合使用,常用的停车密封也为填料密封。

  填料密封价格便宜,可靠性高,但在输送含固体颗粒液体时,必须加轴封水冲洗。一般轴封水压等于泵出口压力加35kPa。

  机械密封虽是一种广泛应用的密封形式,但在防止固体颗粒进入摩擦副及摩擦副材质的选择等方面,有些问题一时难以解决。在大多数应用场合,效果也不理想。

4、材料

   杂质泵过流部件可选用的材料较多,应根据输送浆体的物理性质(颗粒组成、粒径、形状、硬度、浓度等)和化学性质(酸、碱、油)而定。研究表明:金属的磨损与固体颗粒 (磨粒)的速度成正比;金属的磨损率随磨粒尺寸的增加而增加,即磨粒愈细,则磨蚀性愈小。金属的磨损率还随着磨粒硬度和浓度的增加而增大。

5、传动方式

  杂质泵的传动方式有直联(弹性联轴器、液力偶合器)和间接传动(V带、减速机),此外还可通过变频装置及可控硅装置调速。其中弹性联轴器和V带传动拆装方便,价格便宜,应优先考虑采用。


上一篇:各种转子泵的性能特点比较 下一篇:没有了

Copyright © 2010-2020 广一泵业集团有限公司版权所有

网上十大雷火竞技网(官方)网站/网页版登录入口/手机版登录入口-最新版(已更新) 盛凯国际网上足球充值(官方)网站/网页版登录入口/手机版登录入口-最新版(已更新) 朗驰娱乐知名信誉网(官方)网站/网页版登录入口/手机版登录入口-最新版(已更新) 利记外围足球网站(官方)网站/网页版登录入口/手机版登录入口-最新版(已更新) 利记权威十大网(官方)网站/网页版登录入口/手机版登录入口-最新版(已更新) 盛凯国际网上滚球(官方)网站/网页版登录入口/手机版登录入口-最新版(已更新) 最大网上雷火竞技盘口(官方)网站/网页版登录入口/手机版登录入口-最新版(已更新) PM娱乐城最新网上足球(官方)网站/网页版登录入口/手机版登录入口-最新版(已更新)